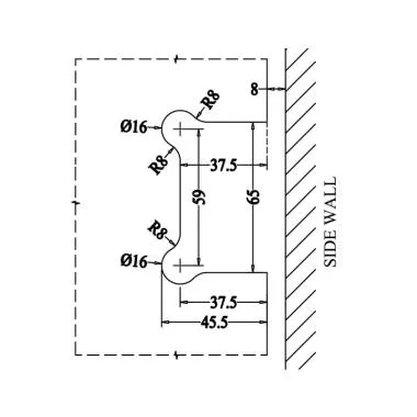
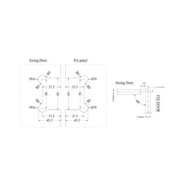
Shower Hinges-Edge Series

Sign Up for Offers
WhatsApp